G3锅炉水处理【新训】试卷39
第1题:根据《特种设备安全法》第六十二条 负责特种设备安全监督管理的部门在依法履行职责过程中,发现违反本法规定和安全技术规范要求的行为或者特种设备( )时,应当以书面形式发出特种设备安全监察指令,责令有关单位及时采取措施予以改正或者消除事故隐患。
A、存在安全隐患
B、存在缺陷
C、存在事故隐患
D、存在问题
第2题:根据《特种设备安全法》第六十一条 负责特种设备安全监督管理的部门在依法履行监督检查职责时,可以行使下列职权:(四)对流入市场的( )或者已经报废的特种设备实施查封、扣押;
A、未经监督检验
B、二手特种设备
C、国家明令淘汰
D、达到报废条件
第3题:根据《特种设备安全法》第六十一条 负责特种设备安全监督管理的部门在依法履行监督检查职责时,可以行使下列职权: (五)对违反本法规定的行为作出( )决定。
A、刑事处罚
B、行政处罚
C、罚款
D、惩罚
第4题:聚酰胺复合膜反渗透设备进水游离余氯超过规定的要求时,应采用( )将其去除。
A、混凝、沉淀、过滤;
B、加亚硫酸钠或经活性炭过滤器;
C、投加杀菌剂;
D、加阻垢剂或经软化器
第5题:浮动床正常运行流速一般控制在( )。
A、5~20m/h;
B、20~30m/h;
C、30~50m/h;
D、50~100m/h
第6题:为了防止有机物对凝胶型强碱阴离子交换树脂的污染,要求进水耗氧量小于( )mg/L。
A、0.5;
B、1.0;
C、1.5;
D、2.0
第7题:交换剂层在制水或再生过程中被托起的离子交换器叫( )。
A、固定床离子交换器;
B、浮动床离子交换器;
C、移动床离子交换器;
D、流动床离子交换器
第8题:混床阴、阳树脂再生后混合不充分造成的危害是( )。
A、造成交叉污染;
B、运行阻力增加;
C、再生剂消耗量大;
D、出水显酸性
第9题:停(备)用工业锅炉启动时,( )内或锅炉水浓缩10倍后锅炉水的水质达到《GB/T 1576-2018工业锅炉水质》的要求。
A、4h;
B、8h;
C、12h;
D、24h
第10题:以除盐水为补给水的工业锅炉正常排污率不宜超过( )。
A、1.0%;
B、2.0%;
C、5.0%;
D、10.0%
第11题:凝结水处理系统中高速混床要求树脂机械强度较高的原因是( )。
A、减少树脂破碎;
B、减少水通过树脂层的压降;
C、提高水力分层性能;
D、提高树脂的工作交换容量
第12题:指明下图存在的安全隐患。( )

A、堆放不整齐;
B、无隔潮措施;
C、有杂物;
D、包装不规范
第13题:当水中含有游离二氧化碳时,会增加水中的( )量,加速腐蚀。
A、氢离子;
B、氢氧根离子;
C、碳酸氢根离子;
D、碳酸根离子
第14题:为了防止给水系统( )腐蚀,给水PH值应控制在规定的范围内。
A、氧;
B、二氧化碳;
C、氨;
D、氯离子
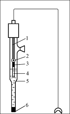
第15题:图中甘汞电极各部位的名称,以下描述正确的是( )。

A、1-引线、2-Hg、3-Hg-HgCl、4-多孔物质、5-陶瓷、6-KCl溶液;
B、1-引线、2-陶瓷、3-Hg-HgCl、4-多孔物质、5-KCl溶液、6-Hg;
C、1-引线、2-Hg、3-Hg-HgCl、4-多孔物质、5-KCl溶液、6-陶瓷;
D、1-陶瓷、2-Hg、3-Hg-HgCl、4-多孔物质、5-KCl溶液、6-引线
第16题:按《特种设备安全监察条例》:特种设备安全监督管理部门依照( )规定,对特种设备生产、使用单位和检验检测机构实施安全监察。
A、《特种设备安全监察条例》
B、《特种设备安全法》
C、《特种设备使用管理规则》
D、《特种设备作业人员监督管理办法》
第17题:按《特种设备安全监察条例》:特种设备( )依照《特种设备安全监察条例》规定,对特种设备生产、使用单位和检验检测机构实施安全监察。
A、安全监督管理部门
B、检验机构
C、评审机构
D、考试机构
第18题:按《特种设备安全监察条例》:特种设备安全监督管理部门接到特种设备生产、使用单位对的检验检测机构和检验检测人员投诉的应当及时进行( )。
A、调查处理
B、处罚检验检测机构
C、处罚检验检测人员
D、处罚检验检测机构和检验检测人员
第19题:按照《特种设备安全监察条例》规定,下列说法不正确的是( )。
A、特种设备使用单位的主要负责人在本单位发生特种设备事故时,不立即组织抢救或者在事故调查处理期间擅离职守或者逃匿的,对单位,由特种设备安全监督管理部门处5万元以上20万元以下罚款;
B、特种设备使用单位的主要负责人对特种设备事故隐瞒不报、谎报或者拖延不报的,对单位,由特种设备安全监督管理部门处5万元以上20万元以下罚款;
C、对较大事故发生负有责任的单位,由特种设备安全监督管理部门处10万元以上20万元以下罚款。
D、对一般事故发生负有责任的单位的主要负责人未依法履行职责,导致事故发生的,由特种设备安全监督管理部门处上一年年收入30%的罚款;属于国家工作人员的,并依法给予处分;触犯刑律的,依照刑法关于重大责任事故罪或者其他罪的规定,依法追究刑事责任。
第20题:当发生故障有大量氯气漏出时,工作人员应立即戴上防毒面具,( ),将氯瓶放入碱水池中。
A、关闭门窗,关闭室内淋水阀;
B、打开门窗,开启室内淋水阀;
C、关闭门窗,开启室内淋水阀;
D、打开门窗,关闭室内淋水阀
第21题:压力表的刻度盘上所划红线指示的是( )压力。
A、额定蒸汽;
B、安全阀整定;
C、工作;
D、允许使用的最高
第22题:作业场所的气体分析包括3的方面:一是对可燃气体的分析,二是氧(在空气中或可燃气中)含量分析,三是有毒有害气体分析。
A、了解环境爆炸危险度;
B、了解气体含量是否符合居住区大气中有害物质的最高允许浓度;
C、了解气体含量是否符合大气环境质量标准;
D、了解气体含量是否符合工业企业设计卫生标准
第23题:《特种设备安全监察条例》(国务院令第373号)是由朱镕基总理签署,于2003年3月11日公布的国家法规,自( )起施行。
A、2003年4月1日
B、2003年5月1日
C、2003年6月1日
D、2003年7月1日
第24题:《中华人民共和国特种设备安全法》第五十七条规定,负责特种设备安全监督管理的部门依照本法规定,对特种设备生产、经营、使用单位和检验、检测机构实施监督检查。负责特种设备安全监督管理的部门应当对学校、幼儿园以及医院、车站、客运码头、商场、体育场馆、展览馆、公园等公众聚集场所的特种设备,实施( )安全监督检查。
A、分类
B、全过程
C、全面
D、重点
第25题:下列说法,不正确的是( )。
A、《中华人民共和国特种设备安全法》规定:特种设备作业人员在作业过程中发现事故隐患或者其他不安全因素,应当立即向特种设备安全管理人员报告。
B、制定《中华人民共和国特种设备安全法》目的是:加强特种设备安全工作,预防特种设备事故,保障人身和财产安全,促进经济社会发展。
C、《中华人民共和国特种设备安全法》规定:未经定期检验或检验不合格的特种设备,不得继续使用。
D、《中华人民共和国特种设备安全法》规定,特种设备出现故障或者发生异常情况,特种设备使用单位应当对其进行全面检查,消除事故隐患,方可继续使用。
第26题:下列说法不正确的是( )。
A、《中华人民共和国特种设备安全法》第五十一条规定,特种设备检验、检测机构的检验、检测人员不得同时在两个以上检验、检测机构中执业;变更执业机构的,应当依法办理变更手续。
B、《中华人民共和国特种设备安全法》第六十五条规定,负责特种设备安全监督管理的部门实施安全监督检查时,应当有二名以上特种设备安全监察人员参加,并出示有效的特种设备安全行政执法证件。
C、《中华人民共和国特种设备安全法》第七十条规定,特种设备发生事故后,事故发生单位应当按照应急预案采取措施,疏散人群,组织抢救,防止事故扩大,减少人员伤亡和财产损失,保护事故现场和有关证据,并及时向事故发生地县级以上人民政府负责特种设备安全监督管理的部门和有关部门报告。
D、《中华人民共和国特种设备安全法》第九十五条规定,特种设备生产、经营、使用单位擅自动用、调换、转移、损毁被查封、扣押的特种设备或者其主要部件的,责令改正,处五万元以上二十万元以下罚款;情节严重的,吊销生产许可证,注销特种设备使用登记证书
第27题:TSG 08-2017《特种设备使用管理规则》规定登记机关收到使用单位使用登记申请,对于一次申请登记数量超过 50 台或者按单位办理使用登记的可以延长至( ) 个工作日。
A、15
B、20
C、25
D、30
第28题:TSG 08-2017《特种设备使用管理规则》规定登记机关收到使用单位使用登记申请,对申请资料有疑问的,可以对特种设备进行( )。
A、检查
B、现场核查
C、检验
D、核对
第29题:TSG 08-2017《特种设备使用管理规则》规定登记机关收到使用单位使用登记申请,自受理之日起15 个工作日内,登记机关应当完成( )的决定。
A、审查
B、发证
C、或者出具不予登记
D、其他选项都是
第30题:TSG 08-2017《特种设备使用管理规则》规定登记机关收到使用单位使用登记申请,自受理之日起( ) 个工作日内,登记机关应当完成审查、发证或者出具不予登记的决定。
A、10
B、15
C、20
D、30
第31题:水蒸汽腐蚀属于电化学腐蚀。( )
A、正确
B、错误
第32题:在直流锅炉中,随给水进入锅内的各种杂质,或者被蒸汽带往汽轮机,或者沉积在炉管内。( )
A、正确
B、错误
第33题:PH值是指H+离子浓度的对数。( )
A、正确
B、错误
第34题:锅炉排污率是指单位时间内锅炉的排污量占锅炉蒸发量的百分数。( )
A、正确
B、错误
第35题:最易发生水解反应的是强酸强碱盐。( )
A、正确
B、错误
第36题:锅炉冷态启动过程中,热态冲洗完全依靠锅炉排污换水,直至炉水铁小于100μg/l,给水铁小于100μg/l时,热态冲洗结束。( )
A、正确
B、错误
第37题:锅炉化学清洗废液必须经过处理,符合《GB 8978-1996 污水综合排放标准》的规定后才能排放。( )
A、正确
B、错误
第38题:《特种设备安全监察条例》规定:特种设备使用单位应当使用符合安全技术规范要求的特种设备。( )
A、正确
B、错误
第39题:额定工作压力12.7~15.8MPa的汽包锅炉(单段蒸发),锅炉水二氧化硅含量应控制≤500μg/L。( )
A、正确
B、错误
第40题:锅炉使用单位应当结合本单位的实际情况,建立健全水(介)质处理管理制度并且严格执行,确保水(介)质的质量符合要求。( )
A、正确
B、错误
第41题:试管加热时应把试管口朝向自己,刚加热过的玻璃仪器不可接触皮肤及冷水。( )
A、正确
B、错误
第42题:汽水分离装置能减少蒸汽带水,也能减少溶解携带,所以高压和超高压锅炉汽包内有汽水分离器装置就足够。( )
A、正确
B、错误
第43题:创伤急救的原则是先抢救,后固定,再搬运,并注意采取措施,防止伤情加重或污染。( )
A、正确
B、错误
第44题:火力发电厂水处理中,常用1um过滤精度的微滤器作为电除盐设备的保安过滤器。( )
A、正确
B、错误
第45题:碱是指电离时产生的阴离子都是氢氧根离子的一类化合物。( )
A、正确
B、错误
第46题:化学反应达到平衡时,反应物与生成物浓度不再变化了,说明反应停止了。( )
A、正确
B、错误
第47题:水是一种极性分子,是一种很好的极性溶剂,能溶解许多物质。( )
A、正确
B、错误
第48题:《特种设备使用管理规则》(TSG08-2017)规定所有特种设备均需办理使用登记。( )
A、正确
B、错误
第49题:《特种设备使用管理规则》(TSG08-2017)规定特种设备安全监管部门依据法定职责按照本规则的要求负责办理特种设备告知。( )
A、正确
B、错误
第50题:《特种设备使用管理规则》(TSG08-2017)规定国家市场监管总局对全国特种设备使用安全、高耗能特种设备节能的监督管理工作进行监督和指导。( )
A、正确
B、错误
第51题:《特种设备使用管理规则》(TSG08-2017)规定特种设备使用单位承担特种设备使用安全与节能主体责任。( )
A、正确
B、错误
第52题:《特种设备使用管理规则》(TSG08-2017)替代了TSG R5001—2005《气瓶使用登记管理规则》。( )
A、正确
B、错误
第53题:当饱和蒸汽品质较好而过热蒸汽品质不良时,表明蒸汽在减温器内受到了污染。( )
A、正确
B、错误
第54题:采用锅外水处理的额定蒸发量为10t/h的自然循环蒸汽锅炉,应根据受热面的氧腐蚀程度,决定是否采取给水除氧措施。( )
A、正确
B、错误
第55题:相对碱度是指炉水的酚酞碱度与炉水中溶解固形物含量的比值。( )
A、正确
B、错误
第56题:额定蒸发量为5t/h,且额定蒸汽压力为1.0MPa的自然循环蒸汽锅炉可采用单纯锅内加药处理方式。( )
A、正确
B、错误
第57题:给水是指送进锅炉的水。主要由汽轮机的凝结水、补给水、辅机冷却水、生产返回水和各种热力设备的疏水等组成。( )
A、正确
B、错误
第58题:在电化学腐蚀中,如发生极化,就会加速腐蚀的进行。( )
A、正确
B、错误
第59题:阴床正常运行中监督的项目一般是出水的电导率和含硅量。( )
A、正确
B、错误
第60题:离子交换器运行时,离子交换速度是指离子间反应的速度。( )
A、正确
B、错误
第61题:工业锅炉的基本工作参数包括蒸发量、压力、温度。( )
A、正确
B、错误
第62题:如果锅炉没有水处理措施,可以采用定期化学清洗的方法取代。( )
A、正确
B、错误
第63题:对锅炉仅进行碱洗(煮)时,不需要进行清洗过程的监督检验。( )
A、正确
B、错误
第64题:万一发生化学品泄漏事故,可用防毒面具、防毒口罩和捂湿毛巾等方法防止通过呼吸道造成伤害。( )
A、正确
B、错误
第65题:当被烧伤时,正确的急救方法应该是以最快的速度用冷水冲洗烧伤部位。( ?)
A、正确
B、错误
第66题:地下或半地下的酸碱罐的顶部可以站人但应有围栏及明显标志。?( )
A、正确
B、错误
第67题:电路或电器着火时,使用二氧化碳灭火器灭火。( )
A、正确
B、错误
第68题:禁止用口尝和正对瓶口用鼻嗅的方法来鉴别性质不明的药品,可以用手在容器上轻轻扇动,在稍远的地方去嗅发散出来的气味。( )
A、正确
B、错误
第69题:高浓度大量吸入氨水可引起急性中毒,使用氨水要戴口罩或瞬间屏气,或在通风柜内进行。( )
A、正确
B、错误
第70题:当浓酸溅到眼睛内或皮肤上时,应迅速用0.5%的碳酸氢钠溶液清洗,再以大量的清水冲洗。经过上述紧急处理后,应立即送医务室急救。( )
A、正确
B、错误
第71题:配制热的浓碱液时,必须在通风良好的地点或通风柜内进行。溶解的速度要慢,并经常以木棒搅拌。( )
A、正确
B、错误
第72题:离子交换器再生过程中反洗的目的是松动树脂层和洗去树脂层中破碎的颗粒和表面的悬浮物。( )
A、正确
B、错误
第73题:摩尔是指每升溶液中所含有物质的摩尔数。( )
A、正确
B、错误
第74题:能使石蕊试纸显红色的物质都属于酸。( )
A、正确
B、错误
第75题:一般顺流再生固定床离子交换器,交换剂的装填高度应适当, 通常应留有40%~60%的空间作为反洗膨胀高度。( )
A、正确
B、错误
第76题:当水冷壁管内的沉积物量或锅炉化学清洗的间隔时间超过极限值时,应安排化学清洗。( )
A、正确
B、错误
第77题:给水采用锅炉外化学处理时,交换器出水的水质也就是锅炉给水水质。( )
A、正确
B、错误
第78题:在锅炉给水系统中发生的腐蚀都属于电化学腐蚀。( )
A、正确
B、错误
第79题:EDI设备(即电去离子设备)是电渗析与离子交换树脂除盐有机结合形成的新型膜分离技术。 ( )
A、正确
B、错误
第80题:用EDI电去离子设备制水需酸、碱化学药品再生。( )
A、正确
B、错误
第81题:天然水中杂质的种类很多,其中对锅炉有危害的杂质主要有( )。
A、悬浮物;
B、胶体物质;
C、溶解物质;
D、溶解气体
第82题:天然水中的杂质按照颗粒大小可分三类即悬浮物、胶体和( )。
A、溶解电解质;
B、溶解气体;
C、溶解的液体;
D、溶解固形物
第83题:在水、汽监督中,发现水质异常,应按以下( )步骤处理?
A、检查所取的样品是否正确无误;
B、检查所用仪器、试剂、分析方法等是否完全正确;
C、检査表计及操作是否准确;
D、立即做水质处理
第84题:锅炉水处理的主要任务是( )。
A、防止锅炉结垢;
B、防止锅炉腐蚀;
C、减少排污;
D、保证蒸汽品质;
E、化学清洗
第85题:正确进行水汽取样应注意( )。
A、取样设备安装合理;
B、正确保存样品,防止已取得的样品被污染;
C、取样前,调整取样流量在500ml/min左右;
D、取样时,应冲洗取样管,并将取样瓶冲洗干净
第86题:化验员在开启0.2mol/L硫酸溶液时,由于磨口塞与瓶口粘连,用力旋转,不慎将瓶颈拧断,左手食指一根筋断裂,不能自由弯曲,手术后治愈。造成此次人身伤害的原因是( )。
A、试剂保管不当;
B、用力过大;
C、磨口瓶塞扭不开时,未按操作流程执行(如用木棒敲一敲、加热等方法);
D、自我防范意识差
第87题:( )和( )有权对于违反《中华人民共和国特种设备安全法》规定的,向负责特种设备安全监督管理的部门和有关部门举报。
A、任何单位
B、操作人员
C、管理人员
D、任何个人
第88题:《中华人民共和国特种设备安全法》规定,使用单位使用未经定期检验或者检验不合格的特种设备的责令停止使用有关特种设备,处( )以上( )以下罚款。
A、3万元
B、1万元
C、30万元
D、10万元
第89题:《中华人民共和国特种设备安全法》第七条规定,特种设备生产、经营、使用单位应当遵守本法和其他有关法律、法规,建立、健全特种设备( )和( )责任制度,加强特种设备安全和节能管理,确保特种设备生产、经营、使用安全,符合节能要求。
A、安全
B、岗位管理制度
C、节能
D、能效
第90题:某厂在编写炉内化学运行规程时,明确了要求增加锅炉排污量的条件。请指出当遇到下列哪些情况,应加强锅炉排污。 ( )
A、锅炉刚启动,未投入正常运行前;
B、炉水浑浊或质量超标;
C、蒸汽质量恶化;
D、给水水质超标
第91题:小王使用微量硅分析仪检测混床出水二氧化硅,其配制“倒加药”溶液的步骤为:取100mLⅰ级试剂水注入塑料杯中,先加入2mL1-氨基-2-萘酚-4-磺酸溶液,摇匀,再加入3mL酒石酸溶液,摇匀,最后加入3mL酸性钼酸铵溶液,摇匀备用。以下关于“倒加药法”的作用,表述错误的是( )。
A、校正仪器的零点;
B、消除试剂的颜色影响,减少试验误差;
C、校正仪器的上、下标;
D、清洗光电比色杯
第92题:下列物质中不全部是弱电解质的是( )。
A、硝酸、氨水、酒精;
B、铜、氨水、酒精;
C、醋酸、氨水、碳酸;
D、醋酸、氨水、苯
第93题:下列反应中属于氧化-还原反应的是( )。
A、2KMnO4=K2MnO4+MnO2+O2↑;
B、Cl2+2NaI=2NaCl+I2;
C、BaCl2+Na2SO4=BaSO4↓+2NaCl;
D、3CO+Fe2O3=2Fe+3CO2
第94题:下列属于碱的物质是( )。
A、氨水;
B、纯碱;
C、碱式硫酸铝;
D、烧碱
第95题:根据盐的组成不同,可把盐分为( )等。
A、正盐;
B、酸式盐;
C、碱式盐;
D、复盐
第96题:锅筒内部有( )装置。
A、蒸汽净化;
B、给水分配;
C、连续排污;
D、加药
第97题:下述( )的方法不能用来减小测定过程中的偶然误差。
A、对照试验;
B、空白试验;
C、仪器校验;
D、增加平行试验的次数
第98题:影响化学反应速度的因素有( )。
A、浓度;
B、压力;
C、温度;
D、催化剂
第99题:影响化学反应平衡的因素有( )。
A、浓度;
B、压力;
C、温度;
D、催化剂
第100题:对于难溶物质的溶解平衡:AmBn ? mAn+ + nBm-,下列说法正确的是( )。
A、当溶液中[An+]m[Bm-]n
B、当溶液中[An+]m[Bm-]n>KSP时,为不饱和溶液,没有沉淀析出,若已有沉淀存在,则会溶解直至离子浓度之积达到KSP;
C、当溶液中[An+]m[Bm-]n>KSP时,为过饱和溶液,应有沉淀析出,直至离子浓度之积达KSP;