G3锅炉水处理【新训】试卷19
第1题:根据《特种设备安全法》第三十八条 特种设备属于共有的,共有人可以委托物业服务单位或者其他管理人管理特种设备,受托人履行本法规定的特种设备( )的义务,承担相应责任。共有人未委托的,由共有人或者实际管理人履行管理义务,承担相应责任。
A、个人应尽
B、使用单位
C、安全运行
D、生产单位
第2题:根据《特种设备安全法》第三十五条 特种设备安全技术档案应当包括以下内容: (五)特种设备的( )和事故记录。
A、非正常停机
B、运行故障
C、使用
D、维护保养
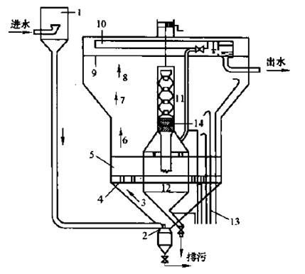
第3题:下图是哪一种水处理设备( )。

A、泥渣悬浮澄清池;
B、机械搅拌澄清池;
C、水力循环澄清池;
D、脉冲澄清池
第4题:机械搅拌加速澄清池的加药位置一般在( )。
A、进水管道中;
B、第一反应室;
C、第二反应室;
D、混合区
第5题:在除盐设备运行中,阴床的出水SiO2逐渐增大,电导率明显升高超标,PH值上升,Na值也处于上升超标状况,出水的流量无明显变化,检查阴床树脂并未失效,其可能主要原因是( )。
A、阳床先失效;
B、进水不合格;
C、阴树脂污染;
D、阴床先失效
第6题:按《特种设备安全监察条例》:特种设备检验检测机构进行特种设备检验检测,发现( )或者能耗严重超标,应当及时告知特种设备使用单位,并立即向特种设备安全监督管理部门报告。
A、严重事故隐患
B、较严重事故隐患
C、一般事故隐患
D、事故隐患
第7题:按《特种设备安全监察条例》:特种设备检验检测机构和检验检测人员利用检验检测工作故意刁难特种设备生产、使用单位,特种设备生产、使用单位有权向特种设备安全监督管理部门( )。
A、告知
B、投诉
C、申请
D、申述
第8题:按《特种设备安全监察条例》:国务院特种设备安全监督管理部门应当组织对特种设备检验检测机构的检验检测结果、鉴定结论进行( )。
A、复检
B、监督抽查
C、审查
D、查阅
第9题:按《特种设备安全监察条例》:国务院特种设备安全监督管理部门应当组织对特种设备检验检测机构的( )、鉴定结论进行监督抽查。
A、检验检测结果
B、检验检测报告
C、检验检测过程
D、检验检测记录
第10题:按《特种设备安全监察条例》:检验检测结果、鉴定结论经检验检测人员签字后,由检验检测机构( )签署。
A、负责人
B、总工程师
C、质量负责人
D、技术负责人
第11题:按《特种设备安全监察条例》:特种设备检验检测机构和检验检测人员进行特种设备检验检测,应当遵循诚信原则和方便企业的原则,为特种设备生产、使用单位提供可靠、便捷的( )服务。
A、安装调试
B、检验检测
C、维护保养
D、改造维修
第12题:按《特种设备安全监察条例》:特种设备检验检测机构和检验检测人员对涉及的被检验检测单位的商业秘密,负有( )义务。
A、保密
B、公开
C、发布
D、指导
第13题:按《特种设备安全监察条例》:从事《特种设备安全监察条例》规定的监督检验、定期检验、型式试验和无损检测的特种设备检验检测人员应当经国务院特种设备安全监督管理部门组织考核合格,取得( ),方可从事检验检测工作。
A、特种作业人员证书
B、特种设计人员证书
C、检验检测人员证书
D、特种监察人员证书
第14题:根据《TSG 11-2020 锅炉安全技术规程》,锅炉设备级别按照参数分为A级、B级、C级、D级。
A、≥3.8MPa;
B、≥5.3MPa;
C、≥9.8MPa;
D、≥13.7MPa
第15题:危险化学品( )必须为危险化学品事故应急救援提供技术指导和必要的协助。
A、生产企业;
B、经营企业;
C、运输企业;
D、使用单位
第16题:根据《TSG 11-2020 锅炉安全技术规程》,锅炉使用单位每月至少进行( )次对所使用的锅炉的水(介)质是否进行定期化验分析、水(介)质未达标是否及时处理等进行检查,并记录检查情况。
A、1;
B、2;
C、3;
D、4
第17题:根据《锅炉压力容器使用登记管理办法》规定,使用单位申请办理使用登记时,需提供锅炉水处理的( )。
A、安装及使用维修说明;
B、产品质量合格证明;
C、处理方法及水质指标;
D、安装过程监督检验证明
第18题:因水处理不当造成严重锅炉事故的,( )有权吊销水处理作业人员的资格证书。
A、锅炉使用单位;
B、安全监察机构;
C、锅炉检验单位;
D、锅炉水质监测单位
第19题:当pH大于8.3时,天然水中肯定不存在( )。
A、CO2;
B、HCO3-;
C、CO32-;
D、OH-
第20题:按照《特种设备作业人员监督管理办法》,申请人小王已经在指定的考试机构考试合格了,现在需要持( )向考试场所所在地的发证部门申请办理《特种设备作业人员证》。
A、身份证
B、户口
C、考试合格凭证
D、考试申请书
第21题:按照《特种设备作业人员考核管理规则》,小王想要申请特种设备安全管理人员证,他应当首先向( )市场监督管理部门指定的特种设备作业人员考试机构(以下简称考试机构)报名参加考试。
A、省级
B、市级
C、区(县)级
D、国家
第22题:根据《特种设备安全法》第二十六条 国家建立缺陷特种设备( )制度。
A、报废
B、召回
C、管理
D、处理
第23题:根据《特种设备安全法》第二十五条 锅炉、压力容器、压力管道元件等特种设备的制造过程和锅炉、压力容器、压力管道、电梯、起重机械、客运索道、大型游乐设施的安装、改造、重大修理过程,应当经特种设备检验机构按照( )的要求进行监督检验;未经监督检验或者监督检验不合格的,不得出厂或者交付使用。
A、相关标准
B、安全技术规范
C、特种设备安全监察条例
D、本法
第24题:根据《特种设备安全法》第二十四条 特种设备安装、改造、修理竣工后,安装、改造、修理的施工单位应当在验收后三十日内将相关技术资料和文件移交特种设备使用单位。特种设备使用单位应当将其存入( )安全技术档案。
A、该特种设备的
B、单位的
C、单位的设备
D、当地的
第25题:根据《特种设备安全法》第二十四条 特种设备安装、改造、修理竣工后,安装、改造、修理的施工单位应当在验收后( )内将相关技术资料和文件移交特种设备使用单位。
A、3个月
B、6个月
C、10个工作日
D、三十日
第26题:根据《特种设备安全法》第二十三条 特种设备安装、改造、修理的施工单位应当在( )将拟进行的特种设备安装、改造、修理情况书面告知直辖市或者设区的市级人民政府负责特种设备安全监督管理的部门。
A、施工前
B、开工后5个工作日内
C、开工前5个工作日内
D、完工前
第27题:根据《特种设备安全法》第二十一条 特种设备出厂时,应当随附安全技术规范要求的设计文件、产品质量合格证明、安装及使用维护保养说明、( )等相关技术资料和文件,并在特种设备显著位置设置产品铭牌、安全警示标志及其说明。
A、制造许可证明
B、节能环保证明
C、监督检验证明
D、定期检验报告
第28题:根据《特种设备安全法》:特种设备产品、部件或者试制的特种设备新产品、新部件以及特种设备采用的新材料,按照安全技术规范的要求需要通过型式试验进行安全性验证的,应当经负责特种设备安全监督管理的部门核准的( )进行型式试验。
A、检验机构
B、型式试验人员
C、机构和人员
D、人员和设备
第29题:根据《特种设备安全法》第二十条 锅炉、气瓶、氧舱、客运索道、大型游乐设施的设计文件,应当经负责特种设备安全监督管理的部门核准的检验机构( ),方可用于制造。
A、审核
B、批准
C、备案
D、鉴定
第30题:根据《特种设备安全法》第十八条 国家按照分类监督管理的原则对特种设备生产实行( )。
A、分级制度
B、许可制度
C、监督检验
D、产品抽查
第31题:水蒸汽腐蚀属于电化学腐蚀。( )
A、正确
B、错误
第32题:在直流锅炉中,随给水进入锅内的各种杂质,或者被蒸汽带往汽轮机,或者沉积在炉管内。( )
A、正确
B、错误
第33题:PH值是指H+离子浓度的对数。( )
A、正确
B、错误
第34题:锅炉排污率是指单位时间内锅炉的排污量占锅炉蒸发量的百分数。( )
A、正确
B、错误
第35题:最易发生水解反应的是强酸强碱盐。( )
A、正确
B、错误
第36题:锅炉冷态启动过程中,热态冲洗完全依靠锅炉排污换水,直至炉水铁小于100μg/l,给水铁小于100μg/l时,热态冲洗结束。( )
A、正确
B、错误
第37题:锅炉化学清洗废液必须经过处理,符合《GB 8978-1996 污水综合排放标准》的规定后才能排放。( )
A、正确
B、错误
第38题:《特种设备安全监察条例》规定:特种设备使用单位应当使用符合安全技术规范要求的特种设备。( )
A、正确
B、错误
第39题:额定工作压力12.7~15.8MPa的汽包锅炉(单段蒸发),锅炉水二氧化硅含量应控制≤500μg/L。( )
A、正确
B、错误
第40题:锅炉使用单位应当结合本单位的实际情况,建立健全水(介)质处理管理制度并且严格执行,确保水(介)质的质量符合要求。( )
A、正确
B、错误
第41题:试管加热时应把试管口朝向自己,刚加热过的玻璃仪器不可接触皮肤及冷水。( )
A、正确
B、错误
第42题:汽水分离装置能减少蒸汽带水,也能减少溶解携带,所以高压和超高压锅炉汽包内有汽水分离器装置就足够。( )
A、正确
B、错误
第43题:创伤急救的原则是先抢救,后固定,再搬运,并注意采取措施,防止伤情加重或污染。( )
A、正确
B、错误
第44题:火力发电厂水处理中,常用1um过滤精度的微滤器作为电除盐设备的保安过滤器。( )
A、正确
B、错误
第45题:碱是指电离时产生的阴离子都是氢氧根离子的一类化合物。( )
A、正确
B、错误
第46题:化学反应达到平衡时,反应物与生成物浓度不再变化了,说明反应停止了。( )
A、正确
B、错误
第47题:水是一种极性分子,是一种很好的极性溶剂,能溶解许多物质。( )
A、正确
B、错误
第48题:《特种设备使用管理规则》(TSG08-2017)规定所有特种设备均需办理使用登记。( )
A、正确
B、错误
第49题:《特种设备使用管理规则》(TSG08-2017)规定特种设备安全监管部门依据法定职责按照本规则的要求负责办理特种设备告知。( )
A、正确
B、错误
第50题:《特种设备使用管理规则》(TSG08-2017)规定国家市场监管总局对全国特种设备使用安全、高耗能特种设备节能的监督管理工作进行监督和指导。( )
A、正确
B、错误
第51题:《特种设备使用管理规则》(TSG08-2017)规定特种设备使用单位承担特种设备使用安全与节能主体责任。( )
A、正确
B、错误
第52题:《特种设备使用管理规则》(TSG08-2017)替代了TSG R5001—2005《气瓶使用登记管理规则》。( )
A、正确
B、错误
第53题:当饱和蒸汽品质较好而过热蒸汽品质不良时,表明蒸汽在减温器内受到了污染。( )
A、正确
B、错误
第54题:采用锅外水处理的额定蒸发量为10t/h的自然循环蒸汽锅炉,应根据受热面的氧腐蚀程度,决定是否采取给水除氧措施。( )
A、正确
B、错误
第55题:相对碱度是指炉水的酚酞碱度与炉水中溶解固形物含量的比值。( )
A、正确
B、错误
第56题:额定蒸发量为5t/h,且额定蒸汽压力为1.0MPa的自然循环蒸汽锅炉可采用单纯锅内加药处理方式。( )
A、正确
B、错误
第57题:给水是指送进锅炉的水。主要由汽轮机的凝结水、补给水、辅机冷却水、生产返回水和各种热力设备的疏水等组成。( )
A、正确
B、错误
第58题:在电化学腐蚀中,如发生极化,就会加速腐蚀的进行。( )
A、正确
B、错误
第59题:阴床正常运行中监督的项目一般是出水的电导率和含硅量。( )
A、正确
B、错误
第60题:离子交换器运行时,离子交换速度是指离子间反应的速度。( )
A、正确
B、错误
第61题:工业锅炉的基本工作参数包括蒸发量、压力、温度。( )
A、正确
B、错误
第62题:如果锅炉没有水处理措施,可以采用定期化学清洗的方法取代。( )
A、正确
B、错误
第63题:对锅炉仅进行碱洗(煮)时,不需要进行清洗过程的监督检验。( )
A、正确
B、错误
第64题:万一发生化学品泄漏事故,可用防毒面具、防毒口罩和捂湿毛巾等方法防止通过呼吸道造成伤害。( )
A、正确
B、错误
第65题:当被烧伤时,正确的急救方法应该是以最快的速度用冷水冲洗烧伤部位。( ?)
A、正确
B、错误
第66题:地下或半地下的酸碱罐的顶部可以站人但应有围栏及明显标志。?( )
A、正确
B、错误
第67题:电路或电器着火时,使用二氧化碳灭火器灭火。( )
A、正确
B、错误
第68题:禁止用口尝和正对瓶口用鼻嗅的方法来鉴别性质不明的药品,可以用手在容器上轻轻扇动,在稍远的地方去嗅发散出来的气味。( )
A、正确
B、错误
第69题:高浓度大量吸入氨水可引起急性中毒,使用氨水要戴口罩或瞬间屏气,或在通风柜内进行。( )
A、正确
B、错误
第70题:当浓酸溅到眼睛内或皮肤上时,应迅速用0.5%的碳酸氢钠溶液清洗,再以大量的清水冲洗。经过上述紧急处理后,应立即送医务室急救。( )
A、正确
B、错误
第71题:配制热的浓碱液时,必须在通风良好的地点或通风柜内进行。溶解的速度要慢,并经常以木棒搅拌。( )
A、正确
B、错误
第72题:离子交换器再生过程中反洗的目的是松动树脂层和洗去树脂层中破碎的颗粒和表面的悬浮物。( )
A、正确
B、错误
第73题:摩尔是指每升溶液中所含有物质的摩尔数。( )
A、正确
B、错误
第74题:能使石蕊试纸显红色的物质都属于酸。( )
A、正确
B、错误
第75题:一般顺流再生固定床离子交换器,交换剂的装填高度应适当, 通常应留有40%~60%的空间作为反洗膨胀高度。( )
A、正确
B、错误
第76题:当水冷壁管内的沉积物量或锅炉化学清洗的间隔时间超过极限值时,应安排化学清洗。( )
A、正确
B、错误
第77题:给水采用锅炉外化学处理时,交换器出水的水质也就是锅炉给水水质。( )
A、正确
B、错误
第78题:在锅炉给水系统中发生的腐蚀都属于电化学腐蚀。( )
A、正确
B、错误
第79题:EDI设备(即电去离子设备)是电渗析与离子交换树脂除盐有机结合形成的新型膜分离技术。 ( )
A、正确
B、错误
第80题:用EDI电去离子设备制水需酸、碱化学药品再生。( )
A、正确
B、错误
第81题:天然水中杂质的种类很多,其中对锅炉有危害的杂质主要有( )。
A、悬浮物;
B、胶体物质;
C、溶解物质;
D、溶解气体
第82题:天然水中的杂质按照颗粒大小可分三类即悬浮物、胶体和( )。
A、溶解电解质;
B、溶解气体;
C、溶解的液体;
D、溶解固形物
第83题:在水、汽监督中,发现水质异常,应按以下( )步骤处理?
A、检查所取的样品是否正确无误;
B、检查所用仪器、试剂、分析方法等是否完全正确;
C、检査表计及操作是否准确;
D、立即做水质处理
第84题:锅炉水处理的主要任务是( )。
A、防止锅炉结垢;
B、防止锅炉腐蚀;
C、减少排污;
D、保证蒸汽品质;
E、化学清洗
第85题:正确进行水汽取样应注意( )。
A、取样设备安装合理;
B、正确保存样品,防止已取得的样品被污染;
C、取样前,调整取样流量在500ml/min左右;
D、取样时,应冲洗取样管,并将取样瓶冲洗干净
第86题:化验员在开启0.2mol/L硫酸溶液时,由于磨口塞与瓶口粘连,用力旋转,不慎将瓶颈拧断,左手食指一根筋断裂,不能自由弯曲,手术后治愈。造成此次人身伤害的原因是( )。
A、试剂保管不当;
B、用力过大;
C、磨口瓶塞扭不开时,未按操作流程执行(如用木棒敲一敲、加热等方法);
D、自我防范意识差
第87题:( )和( )有权对于违反《中华人民共和国特种设备安全法》规定的,向负责特种设备安全监督管理的部门和有关部门举报。
A、任何单位
B、操作人员
C、管理人员
D、任何个人
第88题:《中华人民共和国特种设备安全法》规定,使用单位使用未经定期检验或者检验不合格的特种设备的责令停止使用有关特种设备,处( )以上( )以下罚款。
A、3万元
B、1万元
C、30万元
D、10万元
第89题:《中华人民共和国特种设备安全法》第七条规定,特种设备生产、经营、使用单位应当遵守本法和其他有关法律、法规,建立、健全特种设备( )和( )责任制度,加强特种设备安全和节能管理,确保特种设备生产、经营、使用安全,符合节能要求。
A、安全
B、岗位管理制度
C、节能
D、能效
第90题:某厂在编写炉内化学运行规程时,明确了要求增加锅炉排污量的条件。请指出当遇到下列哪些情况,应加强锅炉排污。 ( )
A、锅炉刚启动,未投入正常运行前;
B、炉水浑浊或质量超标;
C、蒸汽质量恶化;
D、给水水质超标
第91题:小王使用微量硅分析仪检测混床出水二氧化硅,其配制“倒加药”溶液的步骤为:取100mLⅰ级试剂水注入塑料杯中,先加入2mL1-氨基-2-萘酚-4-磺酸溶液,摇匀,再加入3mL酒石酸溶液,摇匀,最后加入3mL酸性钼酸铵溶液,摇匀备用。以下关于“倒加药法”的作用,表述错误的是( )。
A、校正仪器的零点;
B、消除试剂的颜色影响,减少试验误差;
C、校正仪器的上、下标;
D、清洗光电比色杯
第92题:下列物质中不全部是弱电解质的是( )。
A、硝酸、氨水、酒精;
B、铜、氨水、酒精;
C、醋酸、氨水、碳酸;
D、醋酸、氨水、苯
第93题:下列反应中属于氧化-还原反应的是( )。
A、2KMnO4=K2MnO4+MnO2+O2↑;
B、Cl2+2NaI=2NaCl+I2;
C、BaCl2+Na2SO4=BaSO4↓+2NaCl;
D、3CO+Fe2O3=2Fe+3CO2
第94题:下列属于碱的物质是( )。
A、氨水;
B、纯碱;
C、碱式硫酸铝;
D、烧碱
第95题:根据盐的组成不同,可把盐分为( )等。
A、正盐;
B、酸式盐;
C、碱式盐;
D、复盐
第96题:锅筒内部有( )装置。
A、蒸汽净化;
B、给水分配;
C、连续排污;
D、加药
第97题:下述( )的方法不能用来减小测定过程中的偶然误差。
A、对照试验;
B、空白试验;
C、仪器校验;
D、增加平行试验的次数
第98题:影响化学反应速度的因素有( )。
A、浓度;
B、压力;
C、温度;
D、催化剂
第99题:影响化学反应平衡的因素有( )。
A、浓度;
B、压力;
C、温度;
D、催化剂
第100题:对于难溶物质的溶解平衡:AmBn ? mAn+ + nBm-,下列说法正确的是( )。
A、当溶液中[An+]m[Bm-]n
B、当溶液中[An+]m[Bm-]n>KSP时,为不饱和溶液,没有沉淀析出,若已有沉淀存在,则会溶解直至离子浓度之积达到KSP;
C、当溶液中[An+]m[Bm-]n>KSP时,为过饱和溶液,应有沉淀析出,直至离子浓度之积达KSP;