G3锅炉水处理【新训】试卷17
第1题:根据《特种设备安全法》第九条 特种设备行业协会应当加强行业自律,推进行业( )建设,提高特种设备安全管理水平。
A、信息化
B、基本
C、诚信体系
D、专家库
第2题:用磷钼兰比色法测定,一般应用于磷酸盐含量为( )的溶液。
A、2~50mg/L;
B、2~50μg/L;
C、>50μg/L;
D、>50mg/L
第3题:测定某一锅水的含盐量为2000mg/l,氯离子浓度为500mg/l,要求锅水中含盐量小于3000mg/l,则需控制氯离子的量小于( )mg/l。
A、700;
B、750;
C、800;
D、850
第4题:工业酸度计在使用一定时间后,电极性能下降,常需要( )进行活化。
A、浸泡在0.01mol/LHCl中24h时;
B、浸泡在0.01mol/LNaCl中24h;
C、浸泡在除盐水中;
D、浸泡在所测定的样品水中
第5题:将蒸汽冷凝成水的样品通过氢离子交换柱后测定电导率的大小,可以表征蒸汽含盐量的多少,采用测定氢离子交换后的电导率是为了避免蒸汽中( )的干扰。
A、钠离子;
B、硅酸;
C、钾离子;
D、氨
第6题:热电厂锅炉汽水常规分析中,下列指标中( )不可用比色法测定。
A、二氧化硅;
B、硬度;
C、磷酸根;
D、溶解氧
第7题:气动阀门操作后的动作顺序是( )。
A、开关-汽源-膜片-弹簧-阀杆-信号反馈;
B、开关-膜片-弹簧-阀杆-信号反馈;
C、开关-电磁阀-汽源-膜片-弹簧-阀杆-信号反馈;
D、汽源-膜片-弹簧-阀杆-信号反馈
第8题:下图是水处理除盐固定床设备内部何种类型的装置部件?( )

A、母支管中排;
B、辐射型中排;
C、插入式母支管中排;
D、圆环型中排
第9题:下图是水处理除盐固定床设备内部的什么部件?( )

A、进水分配装置;
B、出水集水装置;
C、再生液进液分配装置;
D、母支管式中排装置
第10题:下图是什么型式的水处理过滤设备?( )

A、压力式过滤器;
B、重力式无阀滤池;
C、重力式空擦滤池;
D、压力式无阀滤池
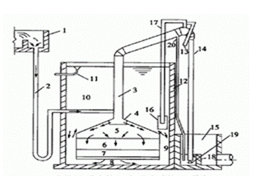
第11题:下图是哪一种类型的锅炉简图?( )

A、卧式多横火管锅炉;
B、卧式多横水管锅炉;
C、立式多横火管锅炉;
D、卧式多横水管锅炉
第12题:下图是哪一种类型锅炉的水汽循环简图?( )

A、单汽包单段蒸发锅炉;
B、单汽包分段蒸发锅炉;
C、单汽包双压自然循环锅炉;
D、单汽包强制循环锅炉
第13题:下图反应的是锅炉给水系统中的?( )

A、低压给水系统;
B、中压给水系统;
C、高压给水系统;
D、炉水循环系统
第14题:下图哪一种类型锅炉的水汽循环简图?( )

A、强制循环汽包炉;
B、自然循环汽包炉;
C、强制循环直流炉;
D、有机热载体锅炉
第15题:下图是锅炉中什么排污装置( )?

A、定期排污装置;
B、连续排污装置;
C、底部排污装置;
D、高温取样架排污扩容器
第16题:图中是( )的关系曲线。

A、某一反应速度常数(K)与温度(T);
B、有色溶液的吸光度与溶液浓度;
C、某一反应速度(v)与温度(T);
D、某一反应速度常数(K)与某一反应速度(v)
第17题:一般钠离子交换器再生时,用( )进行置换。
A、原水;
B、盐水;
C、软化水;
D、除盐水
第18题:直流混凝处理是将混凝剂投加到( )。
A、滤池内;
B、滤池的入口;
C、距滤池有一定距离的进水管内;
D、滤池的出口
第19题:亚硫酸钠除氧的原理是根据( )。
A、亚硫酸钠能够降低氧在水中的溶解度;
B、气体溶解定律;
C、使溶解氧进入锅炉之前与亚硫酸钠发生反应而消耗;
D、提高锅水温度,使溶解氧逸出
第20题:在一定的压力下,水沸腾时产生的蒸汽为( )。
A、过热蒸汽;
B、再热蒸汽;
C、饱和蒸汽;
D、二次蒸汽
第21题:化学试剂中基准试剂瓶签颜色是( )色的。
A、红;
B、黄;
C、绿;
D、黑
第22题:凝结水处理用高速混床的运行流速为( )m/h。
A、10~20;
B、20~30;
C、30~50;
D、70~90
第23题:凝结水污染的主要原因是因为( )。
A、补给水不合格;
B、凝汽器泄漏;
C、加药处理不当;
D、返回水不合格
第24题:滴定管读数时,应准确读至小数后( )。
A、一位;
B、二位;
C、三位;
D、四位
第25题:分析天平调零后,加10mg环码,开启天平,若尺影在光屏移动100分度,天平的分度值为( )。
A、100mg/分度;
B、0.1mg/分度;
C、10mg/分度;
D、1mg/分度
第26题:凝结水处理系统中前置阳床的作用是去除凝结水中的( )。
A、悬浮杂质;
B、胶体杂质;
C、金属腐蚀产物;
D、金属腐蚀产物和氨
第27题:测定环境引入的随机误差,可通过( )来消除。
A、对照分析;
B、空白试验;
C、增加平行试验;
D、校正仪器
第28题:pH玻璃电极存在有不对称电位,在测量时,用( )来校正电极。
A、Ⅰ级纯水;
B、温度;
C、标准缓冲溶液;
D、蒸馏水
第29题:测定PH值所用的电极如果受到污染可用( )处理。
A、用沾有浓酸的棉花轻轻擦净电极的头部;
B、可沾有高纯水的棉花轻轻擦净电极的头部;
C、可沾有乙醚的棉花轻轻擦净电极的头部;
D、可用氯化钠溶液轻轻擦净电极的头部
第30题:由于测定条件的微小波动造成仪器性能的微小变化而带来的分析误差属于( )。
A、方法误差;
B、操作误差;
C、系统误差;
D、随机误差
第31题:水蒸汽腐蚀属于电化学腐蚀。( )
A、正确
B、错误
第32题:在直流锅炉中,随给水进入锅内的各种杂质,或者被蒸汽带往汽轮机,或者沉积在炉管内。( )
A、正确
B、错误
第33题:PH值是指H+离子浓度的对数。( )
A、正确
B、错误
第34题:锅炉排污率是指单位时间内锅炉的排污量占锅炉蒸发量的百分数。( )
A、正确
B、错误
第35题:最易发生水解反应的是强酸强碱盐。( )
A、正确
B、错误
第36题:锅炉冷态启动过程中,热态冲洗完全依靠锅炉排污换水,直至炉水铁小于100μg/l,给水铁小于100μg/l时,热态冲洗结束。( )
A、正确
B、错误
第37题:锅炉化学清洗废液必须经过处理,符合《GB 8978-1996 污水综合排放标准》的规定后才能排放。( )
A、正确
B、错误
第38题:《特种设备安全监察条例》规定:特种设备使用单位应当使用符合安全技术规范要求的特种设备。( )
A、正确
B、错误
第39题:额定工作压力12.7~15.8MPa的汽包锅炉(单段蒸发),锅炉水二氧化硅含量应控制≤500μg/L。( )
A、正确
B、错误
第40题:锅炉使用单位应当结合本单位的实际情况,建立健全水(介)质处理管理制度并且严格执行,确保水(介)质的质量符合要求。( )
A、正确
B、错误
第41题:试管加热时应把试管口朝向自己,刚加热过的玻璃仪器不可接触皮肤及冷水。( )
A、正确
B、错误
第42题:汽水分离装置能减少蒸汽带水,也能减少溶解携带,所以高压和超高压锅炉汽包内有汽水分离器装置就足够。( )
A、正确
B、错误
第43题:创伤急救的原则是先抢救,后固定,再搬运,并注意采取措施,防止伤情加重或污染。( )
A、正确
B、错误
第44题:火力发电厂水处理中,常用1um过滤精度的微滤器作为电除盐设备的保安过滤器。( )
A、正确
B、错误
第45题:碱是指电离时产生的阴离子都是氢氧根离子的一类化合物。( )
A、正确
B、错误
第46题:化学反应达到平衡时,反应物与生成物浓度不再变化了,说明反应停止了。( )
A、正确
B、错误
第47题:水是一种极性分子,是一种很好的极性溶剂,能溶解许多物质。( )
A、正确
B、错误
第48题:《特种设备使用管理规则》(TSG08-2017)规定所有特种设备均需办理使用登记。( )
A、正确
B、错误
第49题:《特种设备使用管理规则》(TSG08-2017)规定特种设备安全监管部门依据法定职责按照本规则的要求负责办理特种设备告知。( )
A、正确
B、错误
第50题:《特种设备使用管理规则》(TSG08-2017)规定国家市场监管总局对全国特种设备使用安全、高耗能特种设备节能的监督管理工作进行监督和指导。( )
A、正确
B、错误
第51题:《特种设备使用管理规则》(TSG08-2017)规定特种设备使用单位承担特种设备使用安全与节能主体责任。( )
A、正确
B、错误
第52题:《特种设备使用管理规则》(TSG08-2017)替代了TSG R5001—2005《气瓶使用登记管理规则》。( )
A、正确
B、错误
第53题:当饱和蒸汽品质较好而过热蒸汽品质不良时,表明蒸汽在减温器内受到了污染。( )
A、正确
B、错误
第54题:采用锅外水处理的额定蒸发量为10t/h的自然循环蒸汽锅炉,应根据受热面的氧腐蚀程度,决定是否采取给水除氧措施。( )
A、正确
B、错误
第55题:相对碱度是指炉水的酚酞碱度与炉水中溶解固形物含量的比值。( )
A、正确
B、错误
第56题:额定蒸发量为5t/h,且额定蒸汽压力为1.0MPa的自然循环蒸汽锅炉可采用单纯锅内加药处理方式。( )
A、正确
B、错误
第57题:给水是指送进锅炉的水。主要由汽轮机的凝结水、补给水、辅机冷却水、生产返回水和各种热力设备的疏水等组成。( )
A、正确
B、错误
第58题:在电化学腐蚀中,如发生极化,就会加速腐蚀的进行。( )
A、正确
B、错误
第59题:阴床正常运行中监督的项目一般是出水的电导率和含硅量。( )
A、正确
B、错误
第60题:离子交换器运行时,离子交换速度是指离子间反应的速度。( )
A、正确
B、错误
第61题:工业锅炉的基本工作参数包括蒸发量、压力、温度。( )
A、正确
B、错误
第62题:如果锅炉没有水处理措施,可以采用定期化学清洗的方法取代。( )
A、正确
B、错误
第63题:对锅炉仅进行碱洗(煮)时,不需要进行清洗过程的监督检验。( )
A、正确
B、错误
第64题:万一发生化学品泄漏事故,可用防毒面具、防毒口罩和捂湿毛巾等方法防止通过呼吸道造成伤害。( )
A、正确
B、错误
第65题:当被烧伤时,正确的急救方法应该是以最快的速度用冷水冲洗烧伤部位。( ?)
A、正确
B、错误
第66题:地下或半地下的酸碱罐的顶部可以站人但应有围栏及明显标志。?( )
A、正确
B、错误
第67题:电路或电器着火时,使用二氧化碳灭火器灭火。( )
A、正确
B、错误
第68题:禁止用口尝和正对瓶口用鼻嗅的方法来鉴别性质不明的药品,可以用手在容器上轻轻扇动,在稍远的地方去嗅发散出来的气味。( )
A、正确
B、错误
第69题:高浓度大量吸入氨水可引起急性中毒,使用氨水要戴口罩或瞬间屏气,或在通风柜内进行。( )
A、正确
B、错误
第70题:当浓酸溅到眼睛内或皮肤上时,应迅速用0.5%的碳酸氢钠溶液清洗,再以大量的清水冲洗。经过上述紧急处理后,应立即送医务室急救。( )
A、正确
B、错误
第71题:配制热的浓碱液时,必须在通风良好的地点或通风柜内进行。溶解的速度要慢,并经常以木棒搅拌。( )
A、正确
B、错误
第72题:离子交换器再生过程中反洗的目的是松动树脂层和洗去树脂层中破碎的颗粒和表面的悬浮物。( )
A、正确
B、错误
第73题:摩尔是指每升溶液中所含有物质的摩尔数。( )
A、正确
B、错误
第74题:能使石蕊试纸显红色的物质都属于酸。( )
A、正确
B、错误
第75题:一般顺流再生固定床离子交换器,交换剂的装填高度应适当, 通常应留有40%~60%的空间作为反洗膨胀高度。( )
A、正确
B、错误
第76题:当水冷壁管内的沉积物量或锅炉化学清洗的间隔时间超过极限值时,应安排化学清洗。( )
A、正确
B、错误
第77题:给水采用锅炉外化学处理时,交换器出水的水质也就是锅炉给水水质。( )
A、正确
B、错误
第78题:在锅炉给水系统中发生的腐蚀都属于电化学腐蚀。( )
A、正确
B、错误
第79题:EDI设备(即电去离子设备)是电渗析与离子交换树脂除盐有机结合形成的新型膜分离技术。 ( )
A、正确
B、错误
第80题:用EDI电去离子设备制水需酸、碱化学药品再生。( )
A、正确
B、错误
第81题:某厂固态排渣煤粉锅炉型号为DG1025/18.2-ⅱ6(额定蒸发量1025t/h、额定蒸汽压力18.2MPa),水处理值班员小王取锅炉水样检测,主蒸汽品质如下:二氧化硅= 4.5μg/L、钠= 2.5μg/L、氢电导率(25℃)= 0.14μS/cm、铁= 4.4μg/L、铜= 3.4μg/L。小王应针对那些不合格指标进行调整( )。
A、二氧化硅;
B、钠;
C、氢电导率;
D、铁;
E、铜
第82题:某厂固态排渣煤粉锅炉型号为HG-480/13.7-YM16(额定蒸发量480t/h、额定蒸汽压力13.7MPa),水处理值班员小王取锅炉水样检测,炉水水质如下:二氧化硅= 550μg/L、氯离子= 1000μg/L、PH= 9.6、电导率(25℃)= 35μS/cm、磷酸根= 5.6mg/L。小王应针对那些不合格指标进行调整( )。
A、二氧化硅;
B、氯离子;
C、PH;
D、电导率;
E、磷酸根
第83题:某厂锅炉型号为WNS 6-1.25-Q(额定蒸发量6t/h、额定蒸汽压力1.25MPa、燃料为天然气),水处理值班员小王取锅炉水样检测,给水水质如下:浊度= 3.1FTU、硬度= 0.04mmol/L、PH= 8.6、电导率= 107μS/cm溶解氧= 60μg/L。小王应针对那些不合格指标进行调整( )。
A、浊度;
B、硬度;
C、PH;
D、电导率;
E、溶解氧
第84题:化验员李某在稀释酸液的时候,由于是夏天穿着凉鞋配制。不小心存放酸液的试剂瓶倒了,酸液洒在脚上,好在及时跑到水龙头冲洗,安然无恙。造成此次未遂事件主要原因是( )。
A、配制酸液将水倒入酸中;
B、工作责任心不强;
C、酸操作时,未穿戴好相应的防护用品;
D、未严格执行操作规程
第85题:某厂化验员王某在溶液室配制氨性氯化亚铜溶液时,在量取200ml 氯化亚铜溶液倒入500ml 平底烧瓶中后,需加入400ml 的氨水。王某从溶液室临时摆放柜里拿了两个500ml 的,自认为是氨水试剂(每瓶约200ml,其中一瓶实际为98%的浓硫酸,浓硫酸瓶和氨水瓶的颜色相似),将第一瓶试剂倒入一只500ml 烧瓶中,烧杯中溶液立即发生剧烈反应,烧杯被炸裂,溶液溅到王某脸上和手上,而此时化验员李某刚好经过,脸上也被喷出的溶液粘上,造成两人脸部及手部局部化学灼伤。造成此次人身伤害的主要原因是( )。
A、王某在配制溶液过程中拿错试剂,其注意力不集中、操作责任心不强;
B、该厂危险化学品管理不到位,化验室习惯将零散的酸、碱试剂混放;
C、在配制有刺激性试剂时,没有按照规定在通风橱中操作,执行规范标准不到位;
D、操作危险化学品时,未按规定佩戴防护用品,自我防范意识差
第86题:关于工业锅炉炉水相对碱度,下列说法正确的是( )。
A、工业锅炉水质标准中规定相对碱度小于0.2;
B、相对碱度表示锅水中游离NaOH含量与溶解固形物的比值;
C、锅水相对碱度=[(2×JD甲-JD酚)×40]/溶解固形物;
D、铆接和胀接结构的锅炉应严格控制相对碱度
第87题:电导率仪设有电容补偿电路,测量水样电导率时,( )。
A、水样电导率较高的溶液,应选用高频交流电源;
B、水样电导率较高的溶液,应选用低频交流电源;
C、水样电导率较低的溶液,应选用高频交流电源;
D、水样电导率较低的溶液,应选用低频交流电源;
第88题:电导率仪使用中应注意的事项有( )。
A、温度补偿合适;
B、检查电极外表应清洁完整;
C、电极常数适合待测水样;
D、电极补充液应充足
第89题:分光光度法测定水样中微量硅含量时,所需药剂有( )。
A、酸性钼酸铵显色溶液;
B、钼钒酸显色溶液;
C、草酸溶液;
D、1-氨基-2-萘酚-4-磺酸
第90题:pNa表测定阳床出水含钠量应注意的事项有( )。
A、新电极应用蘸有四氯化碳或乙醚的棉花擦净电极头部,然后用纯水清洗,再用PNa4定位液浸泡1~2小时后使用;
B、测定阳床出水水样时,先滴加0.2mol/L二异丙胺,使水样PH值达到10左右后再测量;
C、钠离子选择电极长时间不用,以干放为宜,干放前应用水清洗干净;
D、用于参比的甘汞电极用完后应浸泡在纯水中,防止内芯边干而损坏
第91题:水汽质量试验时,若发现水质异常,应首先查明哪些情况?( )。
A、取样器不泄漏,所取样品正确;
B、分析所用仪器、试剂、分析方法等完全正确,计算无差错;
C、有关表、计指示正常,设备运行无异常;
D、取样管路是否冲洗排污
第92题:锅炉要获得清洁的蒸汽,可以采取的措施有( )。
A、尽量减少进入锅炉水中的杂质;
B、汽包内部选用效率更高的汽水分离装置和蒸汽清洗装置;
C、避免锅炉运行参数的变化速率太大;
D、延长锅炉定期排污的时间,并增加其频次
第93题:某厂一级除盐系列,每每在下雨时间运行时,其阴床出水不合格,电导率超标,检测阴床也未失效,阳床出水指标正常,其可能主要原因是( )。
A、水源受雨水污染;
B、大气降水带有较多较多杂质;
C、除碳器和中间水箱室外布置;
D、离心式风机入口负压吸入较多雨水,中间水箱收到污染
第94题:一级离子交换除盐系统中,一般都是阳床在前,阴床在后,其原因主要有( )。
A、阳床在前,可以避免阴树脂运行时生成钙、镁沉淀物附着在树脂表面;
B、阳床在前,其出水呈酸性,有利于提高阴树脂的交换容量;
C、阳树脂的化学稳定性和抗污染能力比阴树脂要好一些,阳床在前可起到保护阴树脂的作用;
D、阳床在前,其出水呈酸性,有利于阴床除硅
第95题:《特种设备使用管理规则 》(TSG 08-2017)规定,特种设备安全管理员的主要职责包括( )。
A、组织建立特种设备安全技术档案;办理特种设备使用登记
B、组织制定特种设备操作规程;组织开展特种设备安全教育和技能培训;组织开展特种设备定期自行检查;编制特种设备的定期检验计划,督促落实定期检验和隐患治理工作;
C、按照规定报告特种设备事故,参加特种设备事故救援,协助进行事故调查和善后处理;
D、纠正和制止特种设备作业人员的违章行为。发现特种设备事故隐患,立即进行处理,情况紧急时,可以决定停止使用特种设备,并且及时报告本单位安全管理负责人;
第96题:《特种设备使用管理规则 》(TSG 08-2017)规定,特种设备作业人员应当取得相应的特种设备作业人员资格证书,其主要职责包括( )。
A、严格执行特种设备有关安全管理制度,并且按照操作规程进行操作;进行经常性维护保养,对发现的异常情况及时处理并且记录;
B、按照规定填写作业、交接班等记录,参加安全教育和技术培训
C、作业过程中发现事故隐患或者其他不安全因素,应当立即采取紧急措施,并且按照规定的程序向特种设备安全管理人员和单位有关负责人报告;
D、参加应急演练,掌握相应的应急处置技能
第97题:《特种设备安全管理和作业人员证》复审合格条件包括( )。
A、年龄不超过 65 周岁
B、持证期间,无违章作业、未发生责任事故
C、持证期间,《特种设备安全管理和作业人员证》的聘用记录中所从事持证项目的作业时间连续中断未超过 1 年
D、持证期间未被投诉
第98题:《特种设备安全管理和作业人员证》持证人员提出复审申请,应提交的资料包括( )。
A、《特种设备作业人员资格复审申请表》
B、《特种设备安全管理和作业人员证》
C、身份证明复印件
D、体检报告
第99题:特种设备作业人员的考试包括( )考试和( )考试。
A、理论知识
B、面试
C、笔试
D、实际操作技能
第100题:天然水经混凝处理后,水质变化情况为( )。
A、基本上除掉了水中的悬浮物;
B、降低了水中非碳酸盐硬度;
C、除去了水中部分胶体硅酸;
D、增加了水中CO2含量