G2电站锅炉司炉【新训】试卷6
第1题:下面锅炉设备布置图中,编号15表示的是( )

A、密封风机炉
B、一次风机
C、送风机
D、引风机
第2题:下面锅炉设备布置图中,编号7表示的是( )

A、给水管道
B、下联箱
C、下降管
D、上升管
第3题:《中华人民共和国特种设备安全法》第八十四条规定,特种设备使用单位的特种设备存在严重事故隐患,无改造、修理价值,或者达到安全技术规范规定的其他报废条件,未依法履行报废义务,并办理使用登记证书注销手续的。责令停止使用有关特种设备,处()以上( )以下罚款。
A、二千元;二十万元
B、二万元;二十万元
C、三千元;三十万元
D、三万元;三十万元
第4题:《中华人民共和国特种设备安全法》第二条规定特种设备的生产、经营、使用、检验、检测和特种设备安全的监督管理,适用本法。其中特种设备的生产不包括( )。
A、设计
B、制造
C、安装、改造
D、运输
第5题:《中华人民共和国特种设备安全法》规定,国家对特种设备的生产、经营、使用,实施( )、全过程的安全监督管理。
A、分类的
B、全面的
C、部分的
D、在线的
第6题:事故发生单位的负责人接到事故报告后,应当( )向事故发生地的县以上市场监管部门和有关部门报告。
A、一小时内
B、二小时内
C、立即
D、迅速
第7题:《中华人民共和国特种设备安全法》自2014年( )起施行。
A、1月1日
B、7月1日
C、9月16日
D、10月1日
第8题:《中华人民共和国特种设备安全法》第七条规定,特种设备生产、经营、使用单位应当遵守本法和其他有关法律、法规,建立、健全特种设备安全和( )责任制度。
A、能效
B、节能
C、维护
D、保养
第9题:下面压力表的精度等级是( )

A、0
B、1
C、2.5
D、10
第10题:《中华人民共和国特种设备安全法》第十三条规定,特种设备生产、经营、使用单位及其主要负责人对其生产、经营、使用的特种设备( )负责。
A、经济运行
B、效率
C、节能
D、安全
第11题:锅炉水位计冲洗,如图。正确的冲洗顺序是( )

A、开下→关中→开中→关上→开上→关下
B、开下→关上→开上→关中→开中→关下
C、开下→关中→关上→开中→开上→关下
D、开下→关上→关中→开上→开中→关下
第12题:《中华人民共和国特种设备安全法》第十二条规定,任何单位和个人有权向负责( )和有关部门举报涉及特种设备安全的违法行为,接到举报的部门应当及时处理。
A、特种设备安全监督管理的部门
B、劳动部门
C、检察机关
D、公安机关
第13题:在离心风机结构图中A是( )

A、叶轮
B、出风口
C、进风口
D、风道
第14题:《中华人民共和国特种设备安全法》规定:特种设备安装、改造、修理竣工后,安装、改造、修理的施工单位应当在验收后( )日内将相关技术资料和文件移交特种设备使用单位。
A、5
B、15
C、20
D、30
第15题:按《特种设备安全监察条例》:锅炉、压力容器、压力管道元件、起重机械、大型游乐设施的制造过程和锅炉、压力容器、电梯、起重机械、客运索道、大型游乐设施的安装、改造、重大维修过程,必须经国务院特种设备安全监督管理部门( )的检验检测机构按照安全技术规范的要求进行监督检验;未经监督检验合格的不得出厂或者交付使用。
A、核准
B、授权
C、批准
D、认可
第16题:为了降低汽轮机的热耗,通常要求再热系统的总压降不超过再热器入口压力的( )。
A、4%;
B、6%;
C、10%;
D、15%。
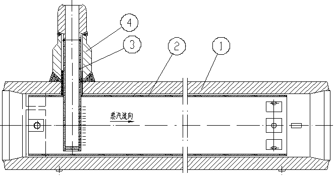
第17题:下面是锅炉过热器减温器,( )是混合器

A、①
B、②
C、③
D、④
第18题:下图是锅炉的( )部件

A、测温热电偶保护套管
B、放汽阀
C、喷水减温器
D、水力喷射泵
第19题:下面锅炉示意图中,( )是超(超)临界直流锅炉
A、

B、

C、

第20题:下面锅炉示意图中,( )是自然循环锅炉
A、

B、

C、

第21题:TSG 08-2017《特种设备使用管理规则》规定登记机关收到使用单位使用登记申请,对申请资料有疑问的,可以对特种设备进行( )。
A、检查
B、现场核查
C、检验
D、核对
第22题:TSG 08-2017《特种设备使用管理规则》规定登记机关收到使用单位使用登记申请,对于一次申请登记数量超过 50 台或者按单位办理使用登记的可以延长至( ) 个工作日。
A、15
B、20
C、25
D、30
第23题:TSG 08-2017《特种设备使用管理规则》规定登记机关收到使用单位使用登记申请,自受理之日起15 个工作日内,登记机关应当完成( )的决定。
A、审查
B、发证
C、或者出具不予登记
D、其他选项都是
第24题:TSG 08-2017《特种设备使用管理规则》规定登记机关收到使用单位使用登记申请,自受理之日起( ) 个工作日内,登记机关应当完成审查、发证或者出具不予登记的决定。
A、10
B、15
C、20
D、30
第25题:TSG 08-2017《特种设备使用管理规则》规定登记机关收到使用单位提交的使用登记申请资料后,不能当场办理的,应当在( ) 个工作日内作出受理或者不予受理的书面决定。
A、 10
B、15
C、5
D、20
第26题:TSG 08-2017《特种设备使用管理规则》规定办理申请工业管道使用登记时,未进行安装监督检验的,应当提供( )。
A、在线检验报告
B、安装质量证书
C、定期检验证明
D、安装过程卡
第27题:TSG 08-2017《特种设备使用管理规则》规定可以采用( )申报系统进行使用登记。
A、网上
B、远程
C、人工
D、电话
第28题:TSG 08-2017《特种设备使用管理规则》规定使用登记程序,包括( )。
A、申请、受理
B、审查
C、颁发使用登记证
D、其他选项都是
第29题:流体在运行过程中,质点之间互不混杂、互不干扰的流动状态称为()。
A、稳定流;
B、均匀流;
C、层流;
D、紊流。
第30题:绝热膨胀过程,使过热蒸汽的过热度降低。一般情况下,绝热膨胀还使湿蒸汽的干度()。
A、降低;
B、升高;
C、不变;
D、先高后低。
第31题:《特种设备安全监察条例》规定:国务院特种设备安全监督管理部门负责全国特种设备的安全监察工作。( )
A、正确
B、错误
第32题:《特种设备安全法》规定:特种设备安全工作应当坚持安全第一、预防为主、节能环保、综合治理的原则。( )
A、正确
B、错误
第33题:液力耦合器是一种利用液体动能传递能量的一种叶片式传动机械。
A、正确
B、错误
第34题:机组负荷260MW。检查发现炉南侧6m西检查孔被焦堵严,联系除灰人员打开附近人孔门也已被焦堵严,立即组织人员打焦。人孔附近堵焦清除后,发现离人孔约1.5m渣斗上部水冷壁斜坡处有大量焦棚住,打焦棍够不到,即找消防栓、消防带准备用水冲焦,打焦人员在人孔南通道等时,发现炉底发黑有落焦现象,即分东西两路人员迅速撤离现场,在撤离过程中有五人被灰 渣烫伤。分析认为锅炉上方受热面掉大焦使炉膛产生正压是此次人身上海的主要原因。
A、正确
B、错误
第35题:随着蒸汽压力的增高,汽水重度差减少,这就使汽水更难分离,增加了蒸汽带水的能力。
A、正确
B、错误
第36题:在过热器使用的金属材料中12Cr1MOV的需用温度≤580℃
A、正确
B、错误
第37题:某600MW机组大修后连续运行3个月。负荷365MW,监盘值班员发现所有煤火检大幅度下降,炉膛火焰电视变灰暗,随机锅炉MFT。检查发现A侧空预器热二次风出口膨胀节裂开。此膨胀节为大修时更换,安装公司将固定支架施工错误,使膨胀节由设计受压变为受拉。公司改进方式修复膨胀节后恢复机组启动。由于错误是安装公司所为,并且已得到纠正。事件得到了有效的整改。
A、正确
B、错误
第38题:某发电厂#1炉运行中,运行人员发现B火检风机出口风压低,随启动A火检风机,准备切换处理。A火检风机启动后B火检风机随即跳闸,火检风压力低触发锅炉MFT。分析火检风机的热工逻辑是:当启动备用风机时,在“自动”状态的运行风机会程序跳闸。因此,启动A风机后, “自动”状态的B风机正确跳闸。但B风机出口逆止阀故障未关到位,造成火检风压力低。事故整改措施:修复了B风机出口逆止阀,责成运行人员正确操作,在启动备用风机前必须切除运行风机“自动”。从本质安全的角度看这一整改措施并不完善。
A、正确
B、错误
第39题:传热量是由三个方面的因素决定的。即:冷、热流体传热平均温差、换热面积和传热系数。
A、正确
B、错误
第40题:某厂#2炉投产运行10年后,运行中甲侧主蒸汽管道直管段突然爆开。经专业机构技术分析认为主汽管管壁偏薄,管材验收检验资料没找到,管内壁普遍存在疲劳裂纹。据此可以判断该锅炉在设计、安装、生产各阶段均存在缺失。
A、正确
B、错误
第41题:某600MW机组负荷580MW,二次风暖风器故障停运。运行中#2、#1空预器主电机相机跳闸,辅电机联启后也都跳闸,空预器转子停转。锅炉MFT动作停炉。分析认为空预器相继跳闸与二次风暖风器故障停运并没有直接关系。分析是否正确?
A、正确
B、错误
第42题:某甲醇厂热电车间当班司炉韩××监盘发现#3锅炉尾部竖井烟道压力迅速增大,锅炉MFT动作熄火,此时锅炉给水170th左右不能维持汽包正常水位,水位下降较快。与此同时,现场检查发现尾部坚井烟道底部有大量汽水冒出,初步判断锅炉水冷壁爆管。
A、正确
B、错误
第43题:《中华人民共和国特种设备安全法》所称特种设备是指危险性较大的锅炉、压力容器(含气瓶)、压力管道、电梯、客运索道、大型游乐设施。( )
A、正确
B、错误
第44题:中华人民共和国特种设备安全法》规定:未经定期检验或检验不合格的特种设备,不得继续使用。( )
A、正确
B、错误
第45题:《中华人民共和国特种设备安全法》规定:特种设备使用单位应当对其使用的特种设备进行经常性维护保养和定期自行检查,并作出记录。( )
A、正确
B、错误
第46题:《中华人民共和国特种设备安全法》规定:特种设备生产、经营、使用单位应当建立健全特种设备安全和节能责任制度。( )
A、正确
B、错误
第47题:《中华人民共和国特种设备安全法》规定:特种设备使用单位应当按照安全技术规范的要求,在检验合格有效期届满前2个月向特种设备检验机构提出定期检验要求。( )
A、正确
B、错误
第48题:为了设备安全,在用锅炉的安全阀每年至少校验一次,蒸汽锅炉的压力表每半年至少校验一次。
A、正确
B、错误
第49题:锅炉受件元件部件的主要缺陷包括:裂纹、起槽、过热、变形、泄漏、腐蚀、磨损和水垢。
A、正确
B、错误
第50题:《特种设备安全监察条例》规定:特种设备安全监督管理部门根据举报或者取得的涉嫌违法证据,对涉嫌违反《特种设备安全监察条例》规定的行为进行查处时,可以查阅、复制特种设备生产、使用单位和检验检测机构的技术文件。( )
A、正确
B、错误
第51题:《特种设备安全监察条例》规定:对学校、幼儿园以及车站、客运码头、商场、体育场馆、展览馆、公园等公众聚集场所的特种设备,特种设备安全监督管理部门应当实施重点安全监察。( )
A、正确
B、错误
第52题:《特种设备安全监察条例》规定:特种设备检验检测机构和检验检测人员利用检验检测工作故意刁难特种设备生产、使用单位,特种设备生产、使用单位有权向特种设备安全监督管理部门投诉,接到投诉的特种设备安全监督管理部门应当及时处罚检验检测机构和检验检测人员。( )
A、正确
B、错误
第53题:用户的用汽压力大于锅炉的工作压力,不适合使用蒸汽蓄热器。( )
A、正确
B、错误
第54题:用水用电管理最基本的是做好用水用电的计量,这是锅炉能效考核的基础数据。( )
A、正确
B、错误
第55题:按《中华人民共和国特种设备安全法》事故可分为特别重大事故、重大事故、较大事故、一般事故。( )
A、正确
B、错误
第56题:《中华人民共和国特种设备安全法》规定,报废条件以外的特种设备,达到设计使用年限可以继续使用的,应当按照安全技术规范的要求通过检验或者安全评估,并办理使用登记证书变更,方可继续使用。
A、正确
B、错误
第57题:《中华人民共和国特种设备安全法》规定,军事装备、核设施、航空航天器使用的特种设备安全的监督管理不适用本法。( )
A、正确
B、错误
第58题:《中华人民共和国特种设备安全法》规定,违反本法规定,应当承担民事赔偿责任和缴纳罚款、罚金,其财产不足以同时支付时,先缴纳罚款、罚金。( )
A、正确
B、错误
第59题:《中华人民共和国特种设备安全法》规定,违反本法规定,构成违反治安管理行为的,依法追究刑事责任。( )
A、正确
B、错误
第60题:《中华人民共和国特种设备安全法》规定,特种设备出现故障或者发生异常情况,特种设备使用单位应当对其进行全面检查,消除事故隐患,方可继续使用。( )
A、正确
B、错误
第61题:《中华人民共和国特种设备安全法》规定,特种设备事故应急专项预案由地方各级人民政府制定,使用单位只要定期进行应急演练即可。( )
A、正确
B、错误
第62题:《中华人民共和国特种设备安全法》规定,特种设备办理了使用登记后,即使未经定期检验或者检验不合格,仍可继续使用。( )
A、正确
B、错误
第63题:《中华人民共和国特种设备安全法》规定,禁止使用国家明令淘汰和已经报废的特种设备。( )
A、正确
B、错误
第64题:锅炉停炉保护方法有湿法保护、干燥保护和气相缓蚀剂保护三种。
A、正确
B、错误
第65题:燃料完全燃烧需要足够高的炉温、充足的空气、充分的时间和较好的混合。
A、正确
B、错误
第66题:根据《特种设备生产和充装单位许可规则》 TSG07-2019 自我声明承诺换证规定:持证单位不得连续两次申请自我声明承诺换证。
A、正确
B、错误
第67题:根据《特种设备生产和充装单位许可规则》 TSG07-2019 许可证延期规定:经批准后可以延期换证的,发证机关更换延长有效期限的许可证,延长的有效期 不超过1年。延长期满前通过换证的,该单位换发的许可证有效期应当从4年中扣除延长期的时间。
A、正确
B、错误
第68题:根据《特种设备生产和充装单位许可规则》 TSG07-2019 许可证管理规定:采取自我声明承诺换证的生产单位,如果发现提交虚假材料,发证机关依法撤销其许可证。
A、正确
B、错误
第69题:卡诺循环是由两个可逆的定温过程和两个可逆的绝热过程组成。
A、正确
B、错误
第70题:某锅炉水冷壁出口含汽率x为0.25,此锅炉的循环倍率是4。
A、正确
B、错误
第71题:汽包或汽水分离器产生的蒸汽不是饱和蒸气。
A、正确
B、错误
第72题:受热面污染系数越大传热越差。
A、正确
B、错误
第73题:汽包是加热、蒸发、过热三个阶段的接合点,又是三个阶段的分界点。
A、正确
B、错误
第74题:水冷壁的传热过程是:烟气对管外壁辐射换热,管外壁向管内壁导热,管内壁与汽水之间进行对流放热。
A、正确
B、错误
第75题:流体有层流和紊流,发电厂的汽、水、风、烟等各种流动管道系统中的流动,绝大多数属于层流。
A、正确
B、错误
第76题:根据《特种设备安全监察条例》预防和调查处理规定:特种设备事故造成10人以上30人以下死亡,或者50人以上100人以下重伤,或者5000万元以上1亿元以下直接经济损失的为重大事故。
A、正确
B、错误
第77题:根据《特种设备安全监察条例》预防和调查处理规定:特种设备事故造成3人以上10人以下死亡,或者10人以上50人以下重伤,或者1000万元以上5000万元以下直接经济损失的为较大事故。
A、正确
B、错误
第78题:根据《特种设备安全监察条例》预防和调查处理规定:特种设备事故造成3人以下死亡,或者10人以下重伤,或者1万元以上1000万元以下直接经济损失的为一般事故。
A、正确
B、错误
第79题:根据《特种设备安全监察条例》预防和调查处理规定:特种设备事故造成30人以上死亡,或者100人以上重伤(包括急性工业中毒,下同),或者1亿元以上直接经济损失的为特别重大事故。
A、正确
B、错误
第80题:根据《特种设备事故调查处理导则》TSG03—2015事故报告与要求:特种设备发生事故后,事故发生单位应当按照规定启动应急预案,采取措施组 织抢救,防止事故扩大,减少人员伤亡和财产损失,履行保护事故现场和有关证据 的义务。
A、正确
B、错误
第81题:水循环的可靠性指标包括( )。
A、循环流速
B、循环倍率
C、循环回路的特性曲线
D、循环回路总高度
第82题:水冷壁是锅炉主要的( )。
A、承压受热面
B、辐射受热面
C、蒸发受热面
D、对流受热面
第83题:水平管内的流动形式有哪几种( )。
A、泡状流动
B、塞状流动
C、弹状流动
D、波浪状流动
E、环状流动
第84题:D/LT 1616-2016 《火力发电机组性能试验导则》规定,锅炉本体性能试验包括()。
A、锅炉热效率试验;
B、锅炉最大连续出力试验;
C、锅炉额定出力试验;
D、锅炉断油(气、等离子)最低稳燃岀力试验。
第85题:D/LT 1616-2016 《火力发电机组性能试验导则》规定,锅炉环保系统性能试验包括()。
A、除尘器性能试验;
B、脱硫装置性能试验;
C、脱硝装置性能试验;
D、雾化器性能试验。
第86题:某司炉工在操作锅炉期间,发现装在汽空间的压力表全部损坏,此时司炉工应采取的措施是( )
A、向领导报告;
B、立即停炉;
C、立即进行抢修;
D、记入运行记录中。
第87题:D/LT 1616-2016 《火力发电机组性能试验导则》规定,空气预热器性能试验项目包括()。
A、空气预热器漏风率;
B、空气预热器烟风侧阻力;
C、空气预热器效率;
D、其他选项都是。
第88题:D/LT 1616-2016 《火力发电机组性能试验导则》规定,锅炉辅机性能试验主要包括()。
A、空气预热器性能试验;
B、制粉系统性能试验;
C、磨煤机性能试验;
D、其他选项都是。
第89题:某厂600MW #1机组负荷350MW,#1炉突然大量掉焦,捞渣机承受载荷突增造成其不能运转。被迫停运清焦。防止掉大焦危机锅炉安全宜采取的措施有。
A、合理做好参配煤;
B、对燃用煤种开展燃烧试验抑制锅炉结焦;
C、制定长效机制常态化开展运行中人工除焦;
D、加强受热面吹灰。
第90题:某厂运行人员发现#5炉给水流量异常大于主蒸汽流量,汽包水位迅速下降,就地过热器处炉外可听到泄漏声,停炉检查发现ⅱ级过热器西数第四屏靠近炉膛中心线的管子浇注料上缘防磨堆焊部位泄漏,后墙西数第40-43根水冷壁冲刷减薄泄漏,造成检修时间和难度增加。防止炉管泄漏迅速扩大的可行手段有。
A、提升管材品质;
B、配备泄漏检测系统;
C、加强巡检频次和听漏技能训练;
D、提高焊接质量。
第91题:某铸管股份有限公司下属电厂在建燃气锅炉试运行点火时,炉膛及排烟系统发生爆炸,造成13人死亡,8人受伤。事故原因是调试管理混乱,在不具备点火条件的情况下违规进行调试,在试点火时发生爆炸。以下哪些情况不允许锅炉点火。
A、锅炉负压保护用测点不准确;
B、DCS系统局部故障,400V锅炉段母线相关参数无显示;
C、机组炉水水质不合格;
D、锅炉安全阀未进行热态校验。
第92题:某公司进口600MW亚临界机组,负荷400MW,锅炉突然发生炉膛爆炸炉底冷灰斗严重损坏,呈开放性破口。造成死23人,伤24人(重伤8人)的特大伤亡事故。事故后,清除的灰渣934立方米。分析发现:锅炉在投产后存在燃用设计煤种及其允许变动范围内煤质时出现严重结渣等问题,与炉膛结构与布置直接相关。近期运行工况有恶化趋势,因电网负荷紧张,调度没有同意及时停机消除。以下单位对事故负有责任。
A、设计制造单位;
B、发电企业及上级管理单位;
C、电网调度单位;
D、安装施工单位。
第93题:某厂4号锅炉小修结束后启动,锅炉升压中,突然炉膛一声巨响,汽包水位直线下降无法控制,紧急停炉。检查发现前墙水冷壁爆管一根,爆口附近同一循环回路共有25 根管产生不同程度的变形。经抢修后。再次启动,并网后又发生后墙水冷壁超温爆管。事故分析发现以下事实,对事故发生和发展有直接关系的是。
A、锅炉启动中,两次均未按规定清洗汽包就地水位计;
B、没有进行就地水位计与电接点水位计教核;
C、锅炉出现假水位工况未能及时发现;
D、第一次爆管原因没有分析清楚盲目启动。
第94题:某厂300MW#6机组,负荷220MW向250MW升负荷过程中,送风机A、B出口压力和电流出现不同程度波动下降,送风机喘振信号发出。随后炉膛熄火保护动作停机。事后检查发现以下现象,与送风机喘振有关的是。
A、与平日同等负荷下对比过热蒸汽温度偏高5℃;
B、二次风母管就地压力表漏气;
C、近日燃用煤种变差热值下降,灰分增大;
D、空预器及暖风器积灰堵塞。
第95题:某厂#2机组锅炉运行中四管泄漏报警装置报警,炉内有泄漏,停运消缺。检查发现漏点是屏过入口大联箱基建时期焊接焊口出现裂纹。保证高压管道焊接质量有效的措施是。
A、必须由持有高压焊工证的焊工操作;
B、必须严格按照高压管道焊接工艺标准操作;
C、可以采取超声波等手段进行探伤检测;
D、少量焊口在焊接后可以不进行热处理。
第96题:某厂#4炉试运行期间,四管泄漏装置多点报警,就地查屏过处有异音。申请临停消缺。冷却后进入炉内检查发现后屏右数第九屏向火侧外圈第1根内弧局部减薄爆开、第2根外弧同一高度处裂纹泄漏,管道无涨粗现象。据此可初步判断泄露原因是。
A、第1根管先泄露将第2根管吹损;
B、第2根管先泄露将第1根管吹损;
C、第1根管材质问题可能性大;
D、第2根管材质问题可能性大。
第97题:省煤器采用螺旋鳍片管或肋片管的特点有()
A、减少管排束数量
B、增大流通截面积
C、降低流速
D、减弱磨损
E、易积灰
第98题:空气预热器的作用有()
A、送入炉膛的空气温度提高,着火区炉温升高
B、作为燃料输送介质,预热燃料加速着火
C、风温提高有利制粉系统煤粉制备
D、使火焰温度平均温度提高改善和强化燃烧
E、进一步降低排烟温度减少排烟损失
第99题:有机热载体炉运行中应做到()
A、严格按升温曲线操作
B、高温状态时要确保导热油循环良好
C、不同品种导热油不得混用
D、出油温度不得超过导热油的允许工作温度
第100题:在锅炉垂直上升管中的流型的有()
A、泡状流动
B、弹状流动
C、环状流动
D、雾状流动